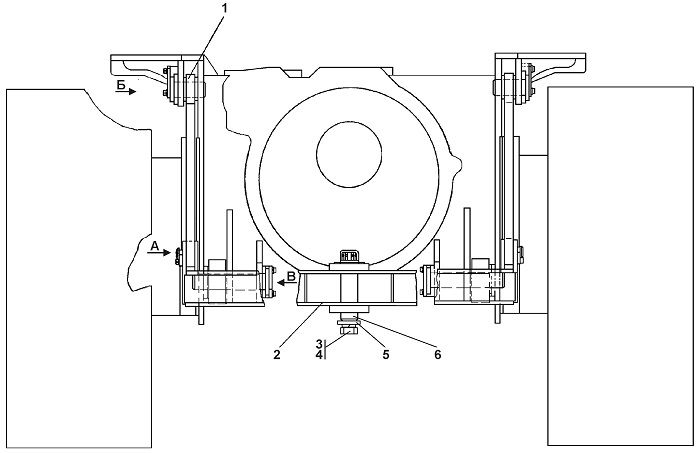
1101-51-1СП Установка прицепного устройства

| № | Обозначение | Наименование | Кол-во на исполнение |
| 1 | 1101-51-12СП | Тяга | 2 |
| 2 | 1101-51-11СП | Балка | 1 |
| 3 | 28 0520 | Болт М16×1,5-6g×30 ГОСТ 7796-70 | 1 |
| 4 | Шайба 16 ОТ | 1 | |
| 5 | 2501-51-19 | Планка | 1 |
| 6 | 312001-51-14СП | Палец | 1 |
Продажа бульдозеров, трубоукладчиков, экскаваторов, фронтальных погрузчиков и запчастей к ним, выкуп подержанной техники.

| № | Обозначение | Наименование | Кол-во на исполнение |
| 1 | 1101-51-12СП | Тяга | 2 |
| 2 | 1101-51-11СП | Балка | 1 |
| 3 | 28 0520 | Болт М16×1,5-6g×30 ГОСТ 7796-70 | 1 |
| 4 | Шайба 16 ОТ | 1 | |
| 5 | 2501-51-19 | Планка | 1 |
| 6 | 312001-51-14СП | Палец | 1 |