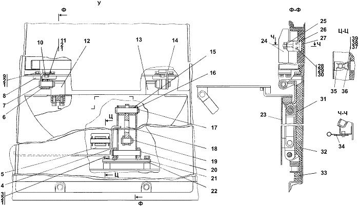
04 Кабина

| № | Обозначение | Наименование | Колич. шт |
| 1 | 31 0150 | Шайба 8 | 14 |
| 2 | Шайба 8Т | 8 | |
| 3 | Болт М8-6g×30 | 2 | |
| 4 | 2501-89-93 | Торсион | 1 |
| 5 | 2501-89-30 | Крышка | 2 |
| 6 | 2501-89-27 | Шайба | 4 |
| 7 | 2501-89-28-01 | Ось | 2 |
| 8 | 2501-89-156СП(SP) | Кронштейн | 2 |
| 9 | Болт М8-6g×20 | 8 | |
| 10 | 2501-89-26-01 | Кронштейн | 1 |
| 11 | Болт М8-6g×16 | 4 | |
| 12 | 2501-89-106СП(SP) | Кронштейн | 1 |
| 13 | 2501-89-106-01СП(SP) | Кронштейн | 1 |
| 14 | 2501-89-26 | Кронштейн | 1 |
| 15 | 2501-89-206 | Втулка | 2 |
| 16 | 31 5185 | Шайба | 5 |
| 17 | 2501-89-28-02 | Ось | 1 |
| 18 | 2501-89-29 | Штанга | 1 |
| 19 | 2501-89-28 | Ось | 1 |
| 20 | 2501-89-92 | Ось | 1 |
| 21 | 2501-89-155СП(SP) | Кронштейн | 1 |
| 22 | 2501-89-34 | Пластина | 3 |
| 23 | 3501-24-166СП(SP) | Каркас | 1 |
| 24 | 2501-89-140СП(SP) | Каркас | 1 |
| 25 | 2501-89-32 | Пружина | 2 |
| 26 | 2501-89-33 | Накладка | 2 |
| 27 | 2501-89-64 | Панель | 1 |
| 28 | Винт В.М6-6g×16 | 6 | |
| 29 | Шайба 6Т | 14 | |
| 30 | 31 0110 | Шайба 6 | 18 |
| 31 | 2501-89-205 | Упор | 1 |
| 32 | 2501-89-65 | Панель | 1 |
| 33 | 2501-89-66 | Панель | 1 |
| 34 | 2501-89-186 | Упор | 2 |
| 35 | 2501-89-31 | Скоба | 5 |
| 36 | 2501-89-188 | Упор | 5 |
| 37 | 31 0080 | Шайба 5 | 8 |
| 38 | Шайба 5 | 24 | |
| 39 | Винт В.М5-6g×16 | 4 |
