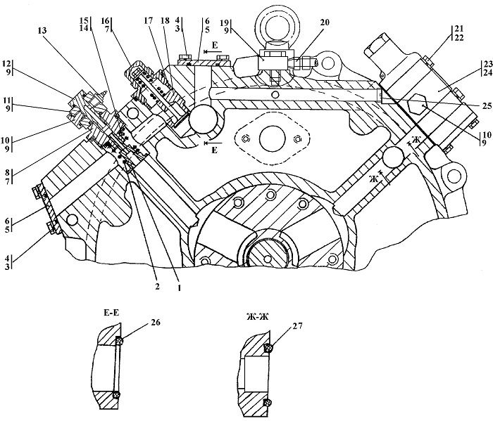
| № |
Обозначение |
Наименование |
Колич. шт |
| 1 |
2501-14-58 |
Втулка |
1 |
| 2 |
38 327 |
Пружина |
1 |
| 3 |
|
Шайба 10 ОТ |
16 |
| 4 |
28 0230 |
Болт М10-6g×25 |
14 |
| 5 |
|
Кольцо 039-045-36-2-51-1668 |
3 |
| 6 |
2001-14-30 |
Крышка |
3 |
| 7 |
|
Кольцо 045-050-30-2-51-1668 |
3 |
| 8 |
2501-14-59 |
Пробка |
1 |
| 9 |
|
Кольцо 018-022-25-2-51-1668 |
13 |
| 10 |
37 5330 |
Пробка |
3 |
| 11 |
1101-15-52 |
Переходник |
1 |
| 12 |
2501-20-8-01 |
Болт зажимной |
1 |
| 13 |
|
Датчик аварийного давления масла 3602.3829 |
1 |
| 14 |
47-59-205 |
Кольцо |
5 |
| 15 |
46-05-764 |
Шайба |
2 |
| 16 |
2001-14-60 |
Крышка |
1 |
| 17 |
2001-14-41 |
Втулка |
1 |
| 18 |
201-14-17СП(SP) |
Клапан |
1 |
| 19 |
2501-20-58 |
Угольник |
3 |
| 20 |
2701-12-44 |
Штуцер |
3 |
| 21 |
28 0388 |
Болт М12-6g×90 |
4 |
| 22 |
|
Шайба 12 ОТ |
48 |
| 23 |
2501-15-138СП(SP) |
Клапан |
1 |
| 24 |
700-40-5336 |
Прокладка |
1 |
| 25 |
37 0260 |
Пробка 3кг1/4² |
1 |
| 26 |
|
Кольцо 042-050-46-2-51-1668 |
2 |
| 27 |
|
Кольцо 075-081-36-2-3 |
1 |